Мы используем cookie для наилучшего представления нашего сайта. Подробнее об этом в Политике конфиденциальности.
Ок

Бердск

Ваш город:
Бердск (Новосибирская область)?
Нет
Да
Каталог
Каталог Написать в WhatsApp
Мотоэкипировка

Рама КВАДРОЦИКЛА STELS ATV 110 D (603)

Рама КВАДРОЦИКЛА STELS ATV 110 D (603) в Новосибирске: актуальный каталог, цены, фото, описание. Купите рама квадроцикла stels atv 110 d (603) в кредит – оформите заявку онлайн за 1 минуту!

Оригинальные запчасти

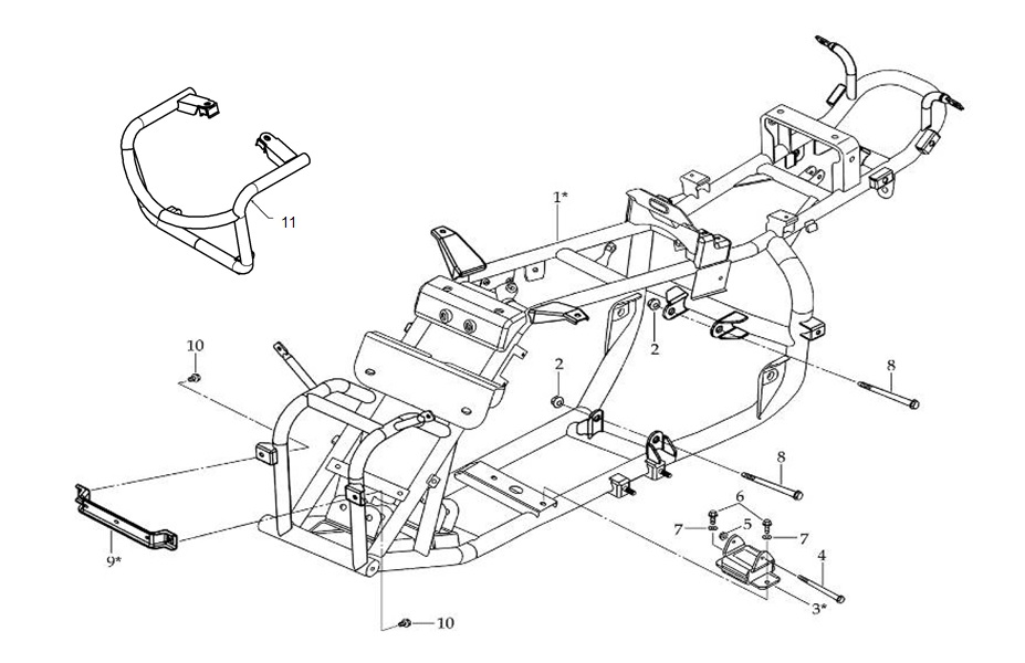
Артикул НАИМЕНОВАНИЕ Кол-во деталей в узле Примечание Наличие Цена Аналоги Фото
1 LU020284 Рама мотовездехода (двигатель E06) F040076J48

Под заказ

1

Под заказ

уточнить

Купить
2 LU018858 Кронштейн крепления двигателя F020130-00

Под заказ

1

Под заказ

уточнить

300

Купить
3 LU013785 Гайка с фланцем самоконтр. М8х1.25мм, сталь 9203-08-125

Под заказ

1

Под заказ

уточнить

100

Купить
4 LU014085 Шайба пружинная 8.2×3.2×2мм A080012-41

Под заказ

2
Ø8.2×3.2×2t
Ø8.2×3.2×2t

Под заказ

уточнить

Купить
5 LU014117 Болт с фланцем М10х1.25х115мм , сталь 9102-10-115

Под заказ

2

Под заказ

уточнить

770

Купить
6 LU021599 Кронштейн крепления бампера (черный) F040012-50

Под заказ

1
BLACK
BLACK

Под заказ

уточнить

720

Купить
7 LU021193 Бампер передний F040146-48

Под заказ

1

Под заказ

уточнить

4 610

Купить

Нулевая цена не означает отсутствие товара. Оформите заказ, и менеджер сообщит вам цену и наличие товара, предварительно запросив их у поставщика

Главная Магазины
Корзина0
Профиль