Каталог
Каталог Написать в WhatsApp
Мотоэкипировка

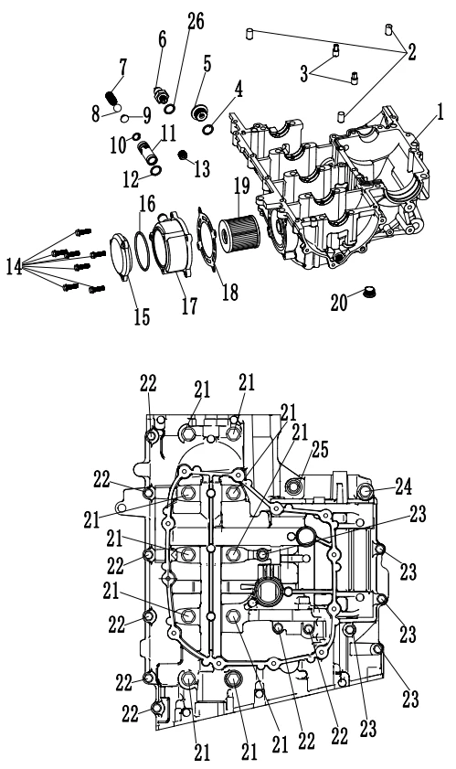
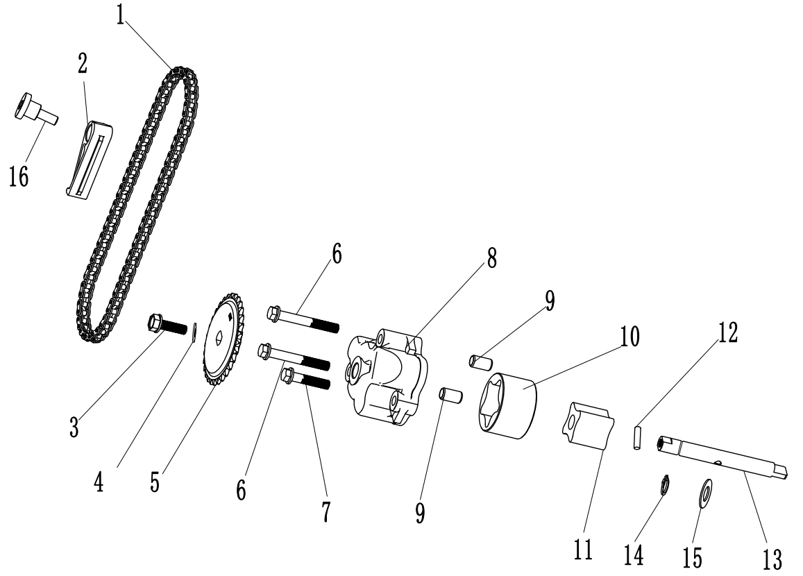
LFC700 ENGINE parts

  • go_LFC700 ENGINE parts — копия
Для ускорения поиска, Ты можешь ввести здесь часть названия детали, например «Поршень»

On-line каталоги

Главная Магазины
Корзина0
Профиль